Use Single and Dual Gate Drivers for Enhanced Isolation in Critical Applications
There are numerous critical applications in which data and power must be transferred from high-voltage to low-voltage circuits. Good examples include motor drives, data centers, industrial automation, and grid infrastructure equipment such as solar inverters. While designers want reliable, regulated voltages and currents, as well as fast and high-integrity data transfer, they don’t want uncontrolled high-voltage transients impacting their expensive systems. The sort of voltages triggered by lightning strikes can easily damage sensitive silicon and corrupt data streams. Moreover, such transients can pose a hazard to maintenance staff.
Protection from transients comes in the form of isolation. Isolation ensures that two subcircuits of the overall system are electrically separated, with no ohmic or galvanic path between them (infinite resistance); yet, signal, power, or both can still pass between those subcircuits.
There are several methods for achieving safe isolation, with the traditional techniques involving the use of isolation transformers and optocouplers. However, in applications where characteristics such as common-mode transient immunity (CMTI), clean waveforms, small size, functional integration, high switching speed, low cost, simplicity, reliability, and long life are priorities, gate drivers are a proven solution.
Gate drivers for high-performance isolation applications
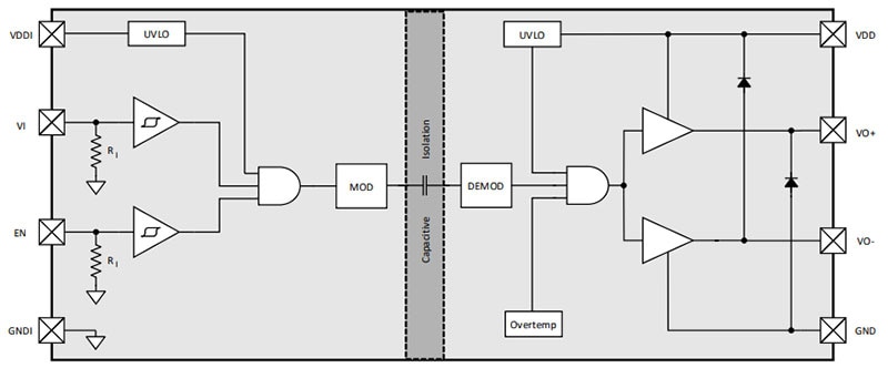
Isolated gate driver ICs (Figure 1) offer control over factors such as isolation level, propagation delay, parasitic leakage inductance, parasitic input-to-output capacitance, CMTI, component size and thickness, printed circuit board (pc board) layout, and the inclusion of protection features such as undervoltage lockout (UVLO). Optimizing each of these characteristics enables the engineer to fine-tune the gate driver's performance to suit the application.
Figure 1: Shown is the layout of a typical single-channel gate driver with CMOS isolation and UVLO protection. (Image source: Skyworks Solutions)
Skyworks Solutions offers a wide range of isolated gate driver ICs with 3 to 20 volt CMOS inputs and up to 30 volt gate drive. They come in various 1, 4, and 6 ampere (A) configurations, including the Si82Ax, Si82Bx, Si82Cx, Si82Dx, Si82Ex, and Si82Fx (Figure 2). Features include up to 6 kilovolts RMS (kVrms) isolation, a CMTI of 200 kV per microsecond (kV/µs), a propagation delay of less than 45 nanoseconds, and support for GaN, IGBT, SiC, and MOSFET technologies.
Figure 2 : The Si82Ax-Fx single- and dual-channel gate drivers support 1, 4, and 6 A outputs. (Image source: Skyworks Solutions)
The devices’ voltage-mode output enables optimized switching performance, while various UVLO options and input overlap protection ensure safe operation. Included are deglitch options, single-channel configurations with combined or split output, an integrated Miller clamp, and assorted UVLOs matched to the power switch type being driven.
The Si82Ax and Si82Dx target power and motor control applications, while the Si82Bx and Si82Ex meet power switch driving requirements. The Si82Cx and Si82Fx high-performance versions for power switch driving use Skyworks’ Selectable Variable Current Drive (SelVCD) current mode architecture and are automotive qualified. SelVCD operates as a current source, maintaining an output within a tight tolerance of the target across all operating conditions.
Getting started with isolated gate drivers
Designers have a wide range of options within each family to choose from to suit their specific requirements. For example, the SI82A30BCC-IS from the Si82Ax family is a single-channel, 3.75 kV, 1 A device that is ideal for driving power MOSFETs and IGBTs in applications such as switched power and motor control. It is available in single- or split-output (Figure 3) configurations.
Figure 3 : The SI82A30BCC-IS is a single-channel device ideal for driving power MOSFETs and IGBTs, and is available in single- or split-output (shown) configurations. (Image source: Skyworks Solutions)
The SI82F29AGC-IS1 from the Si82Fx series is a 3.75 kV, dual-channel device designed for MOSFET, IGBT, SiC, and GaN switching architectures, featuring dual (Figure 4, left) or single (Figure 4, right) control inputs. SelVCD technology on the output stage adjusts the output current between eight selectable levels, eliminating the need for gate resistors and clamping any Miller-effect currents.
Figure 4 : The SI82F29AGC-IS1 is a dual-channel gate driver for MOSFET, IGBT, SiC, and GaN switching architectures, featuring either dual (left) or single (right) control inputs. (Image source: Skyworks)
Skyworks also provides the handy SI82F39ABC-KIT evaluation kit (Figure 5) for its Si82Fx series. The Si82Fx lies at the center of the kit, and peripheral components and functionality allow the engineer to exercise the chip’s switching, protection, and isolation capabilities.
Figure 5: The SI82F39ABC-KIT evaluation kit enables designers to exercise the Si82Fx series’ switching, protection, and isolation capabilities. (Image source: Skyworks Solutions)
Conclusion
Isolation between a high-voltage power supply and low-voltage operational circuits is essential to protect systems and users in critical applications such as data centers, industrial automation, medical, and automotive. The Si82Ax-Fx gate drivers provide designers with the exceptional isolation performance, clean sinusoidal outputs, flexibility, and reliability required for these systems to perform efficiently at all frequencies.
Have questions or comments? Continue the conversation on TechForum, DigiKey's online community and technical resource.
Visit TechForum


