MAX22216 Serial-Controlled Solenoid and Motor Driver
Analog Devices' MAX22216 quad smart serial-controlled solenoid and motor driver with advanced diagnostic
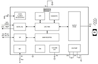
ADI's MAX22216 integrates four programmable 36 V half-bridges. It is primarily intended to drive inductive loads such as on-off solenoid valves, DC motors, proportional valves, bistable valves, relays, and more. The MAX22216 is capable of up to 3.2 AFS per half-bridge.
The MAX22216 half-bridges support two different use cases. In the first case, configuration settings can be entered through a serial peripheral interface (SPI) and changed at any time. Alternatively, settings can be stored in one-time programmable (OTP) registers, loaded at power-up, enabling stand-alone operations. Registers are user-programmable. The OTP writing procedure must be executed in a factory under well-controlled temperature and voltage conditions.
High-side/low-side single-ended drive operations and bridge-tied load (BTL) configurations are supported. Channel parallelization is also supported. Voltage control, current control, and mixed schemes are supported.
In voltage drive regulation (VDR) mode, the half-bridge output voltage is controlled. Supply variations are internally compensated. In current drive regulation CDR mode, the half-bridge output current is controlled. The current is internally sensed and fed back to the controller for accurate closed-loop regulation. Proportional and integral gains can be configured to optimize steady-state errors and dynamic performance.
The MAX22216 integrates functions aimed at optimizing solenoid and DC motor drive control. These include a two-level sequencer for power saving, drive signal ramp control (RAMP) for noise reduction, a dither function (DITH) to counteract the effects of static friction and hysteresis, a fast demagnetization feature (DC_H2L) to shorten on-off cycles, and a DC motor current limiter for limiting inrush and stall currents.
Advanced diagnostic functions are available to improve system reliability and enable predictive maintenance. These include the detection of plunger movement (DPM), inductance measurement, travel time measurement, open-load (OL) detection, and real-time current monitoring through a serial interface.
The MAX22216 features a full set of protection circuits, including overcurrent protection (OCP), overtemperature protection (OTP), and undervoltage lockout (UVLO). A fault indicator pin is asserted whenever faults are detected.
The MAX22216-EVAL allows evaluation of the MAX22216 in combination with the TRINAMIC evaluation board system or as a stand-alone board. It uses the standard schematic and offers several options to test different modes of operation.
- Four serial controlled 36 V half-bridges
- 1.7 ADC (TA = +25°C) and 3.2 A full-scale current capability (MAX22216)
- Low RON for high-efficiency
- High flexibility:
- Independent channel setting
- High-side/low-side bridge-tied load configuration/parallel mode supported
- Advanced control methods
- Voltage/current drive regulation
- Two-level sequencer for power-saving
- DC motor drive with current limiter
- Dithering function
- Ramp up/down control
- Demagnetization voltage control
- Integrated current sense
- Diagnostic functions
- Reaction and travel time measurement
- Detection of plunger movements
- Open-load detection
- Inductance measurement
- Digital current sense monitor
- Full set of protections
- OCP
- Thermal protections
- UVLO
MAX22216 Serial-Controlled Solenoid and Motor Driver
| Image | Manufacturer Part Number | Description | Available Quantity | Price | View Details | |
|---|---|---|---|---|---|---|
![]() | ![]() | MAX22216ATJY+ | QUAD SERIAL PROGRAMMABLE 2A HALF | 931 - Immediate 3430 - Factory Stock | $16.66 | View Details |
![]() | ![]() | MAX22216ATJY+T | QUAD SERIAL PROGRAMMABLE 2A HALF | 1476 - Immediate | $16.66 | View Details |
Development Board
| Image | Manufacturer Part Number | Description | Available Quantity | Price | View Details | |
|---|---|---|---|---|---|---|
![]() | ![]() | MAX22216EVKIT# | EVAL BOARD FOR MAX22216 | 53 - Immediate | $371.14 | View Details |






