What's Next for High-Power LEDs?
Contributed By Electronic Products
2012-12-04
High-efficiency LEDs are impressive devices. Many leading semiconductors companies sell proven, commercial devices with efficacies in excess of 100 lm/W and lifetimes exceeding 50,000 hours.
However, while contemporary products perform well, indium gallium nitride (InGaN)-based white LEDs (the most common type produced today) have a theoretical efficacy limit of around 250 lm/W, so there is still plenty of room for improvement. Factors such as carrier injection-, internal quantum-, and light extraction-efficiency are under intense scrutiny by academics and researchers working for the leading LED companies alike.
This article reviews the progress that these scientists and engineers have made so far, and casts an eye forward as to what improvements we might see next.
Green credentials
LEDs are touted as the future for environmentally-friendly lighting. Some of their green credentials come from sustainable manufacturing techniques and the use of recyclable materials, but the major benefits for the planet are in the power savings LEDs exhibit compared with traditional lighting sources.
Although there are several techniques for producing white light from LEDs, most contemporary commercial devices combine an InGaN LED, producing light in the blue part of the spectrum, with an yttrium aluminum garnet (YAG)-based phosphor. The phosphor absorbs some of the blue light from the LED and then re-emits it across a broad range of wavelengths comprising some green and red, and a lot of yellow. The combination of blue light from the LED and the range of colors from the phosphor appears as white to the eye (see the TechZone article “Whiter, Brighter LEDs”). The rest of this article will be restricted to consideration of this type of white LED.
Current commercial devices have efficacies in the 70 to 120 lm/W range. That is far better than the soon-to-be-phased-out incandescent bulbs (10 to 18 lm/W), a little better than compact fluorescent lights (CFLs) (35 to 60 lm/W), and on a par with fluorescent tubes (80 to 100 lm/W).1
Such efficacy makes a big difference to a nation’s power consumption. According to an article in Nature Photonics,2 about 22 percent of the electricity generated in the U.S. is dedicated to lighting applications. The article notes that if all the conventional white-light sources in the world were converted to LEDs, power consumption could be reduced by around 1,000 TWh per year, the equivalent of about 230 typical 500-MW coal plants, reducing greenhouse gas emission by about 200 million tonnes.
While LEDs have followed an exponential curve in terms of efficiency improvements (Figure 1), they are still in their infancy as a technology. According to a recent analysis, the upper limit for the light output from a “perfectly engineered white light” (a 5800 K black body emitting all its photons at wavelengths in the visible spectrum between 400 and 700 nm) is 250 lm/W.3

That gives LED manufacturers plenty of headroom to improve their products. So what can be done to almost double the efficacy of the best white LEDs available today?
Four steps to efficiency
Scientists have determined three distinct factors that combine to determine a property known as the external quantum efficiency (EQE) of a white LED. This dimensionless number defines how efficiently the device converts electrons into photons that actually escape from the chip and contribute to luminosity – the reason for the device’s existence.
The EQE (ηext) is defined as:
Where ηinj is the carrier injection efficiency, ηint is the internal quantum efficiency, and ηextraction is the photon extraction efficiency.
Let’s take a closer look at these factors in turn.
In order to undergo a carrier-hole recombination, the electrons passing through the LED have to be injected into the active region. The efficiency of this operation (carrier injection efficiency) is defined as the proportion of electrons passing through the device that actually make their way to the active region.
The internal quantum efficiency (IQE) is a measure of the number of recombinations in the active region that are radiative (i.e., produce photons). Note that many recombinations are non-radiative, producing “phonons” – vibrations of the crystal lattice – that heat up the die and produce no light.
Once the photons are produced, they have to escape from the die in order to contribute to luminosity. Extraction efficiency measures the proportion of photons, generated in the active region, that actually escape from the device. (See the TechZone article “LED Efficacy Improvement Shows No Signs of Slowing”.)
There is a fourth factor that must be taken into account when considering the EQE of a white LED that uses phosphor to increase the wavelength of photons from a blue LED, such that they appear white – that is the conversion efficiency. The conversion efficiency is a measure of the ratio of emitted longer-wavelength photons to shorter-wavelength absorbed photons.
(Note that there is another characteristic that limits the efficacy of contemporary LEDs, known as “current droop.” LEDs work best at very low forward currents and voltages; when the current is increased, the LED brightens, but, frustratingly, the efficacy tails off. The phenomenon behind current droop is poorly understood, but is thought to be due to a process called direct Auger recombination. This involves electrons and holes recombining and instead of emitting a photon, transferring the resultant energy to a third carrier. Since the process involves three carriers, the problem would tend to get worse at the high carrier densities common to higher currents. For more information, see the TechZone article “Identifying the Causes of LED Efficiency Droop”.)
Exploiting the non-polar regions
LED manufacturers have focused their R&D efforts fairly equally on all four factors that contribute to EQE, but the results of their endeavors have been more successful for some than others.
Significant progress, for example, has been made in IQE. The best of today’s commercial white LEDs boast an IQE of between 75 percent and 80 percent. Further improvements rely on the elimination of so-called non-radiative recombination centers. These typically form around microcracks (or “threading dislocations”) in the die created in the bulk semiconductor during the manufacturing process and increase over time as the die ages and the cracks grow. (See the TechZone article “Understanding the Cause of Fading in High-Brightness LEDs”.)
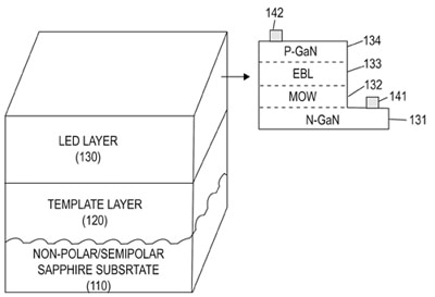
One solution put forward to reduce the number of non-radiative recombination centers is to grow the semiconductor in non-polar or semi-polar crystallographic directions. This reduces the number of threading dislocations and consequently the number of non-radiative recombination centers.
Seoul Opto Device Company, a subsidiary of LED maker Seoul Semiconductor, has made a recent patent application for the manufacture of just such a material.4 Figure 2 shows a schematic of an LED structure using the technology. The drawback to the method is that it is difficult, and therefore expensive, to use in volume manufacturing. However, the company announced recently that it has released commercial samples of its “nPola” LED that is based on non-polar technology.

Less impressive than the number for IQE is the figure for the extraction efficiency. The major stumbling block in improving the extraction efficiency is the large difference in refractive index between the air and the InGaN die, which causes in excess of 90 percent of the emitted photons to be internally reflected back into the semiconductor and reabsorbed.
One solution is to increase the amount of photons hitting the LED–air interface at a near-perpendicular angle (by, for example, surface roughening techniques to generate microscale cones on the surface, altering the exterior shape of the LED and patterning the sapphire substrate). According to experiments conducted at Rensselaer Polytechnic Institute,5 roughening the upper surface can increase light emission efficiency from under 10 percent to more than 20 percent.
Another technique that has gained popularity among high-brightness LED manufacturers is to encapsulate the LED with a material of a refractive index closer to that of the semiconductor. This can be done during device packaging, and is considerably less expensive than shaping the die. The closer match in the refractive indices of the semiconductor and the encapsulant means a photon can hit the boundary at a much higher angle of incidence and still be emitted rather than reflected back. (See the TechZone article “Improving the Efficiency of LED Light Emission”.)
Carrier injection efficiency is another area where researchers have found it difficult to make progress. Appropriately doped n- and p-type semiconductors and a bias voltage ensure there is a plentiful supply of electrons (and holes) for recombination, but making sure they all end up in the active region is another matter altogether. Many holes and electrons recombine in non-active regions of the chip generating nothing more than heat.
Modern devices use a couple of tricks to “shepherd” reluctant charge carriers into the active region and then, when they are there, “encourage” them to recombine and produce a photon. The first of these enhancements is an electron-blocking layer (EBL) that sits between the p-type cladding and the active layer and prevents electrons migrating away from the active region once they have made it that far. In addition, the material forming the EBL must be appropriately doped such that it does not prevent the free migration of holes into the active region.
The second enhancement is the introduction of “quantum wells” into the active region. These structures are very thin (1 to 20 nm) layers of semiconductor with a bandgap slightly lower than the surrounding bulk material. For complex quantum mechanical reasons, the wells ‘attract’ and then ‘trap’ charge carriers increasing the probability of radiative recombinations.6 Figure 3 shows an energy bandgap (valence band to conduction band) schematic showing an EBL and active region with multiple quantum wells (MQW).

Figure 3: Energy bandgap diagram for an LED showing carrier injection efficiency boosting electron-blocking layer and multiple quantum wells in the active region.
A further novel proposal to improve carrier injection efficiency is the “LET” or light-emitting triode.7 This device replaces the single anode of a conventional LED with two anodes. Figure 4(b) shows the arrangement.

Figure 4: Replacing the anode of a conventional LED with two anodes to form a light-emitting triode is suggested as one way to improve carrier injection efficiency.
In this device, current flows laterally from one anode to the other, accelerating the holes and providing them with more energy. This extra energy increases the probability of holes being injected into the active layer where they can radiatively recombine.
Taming errant photons
Significant progress has been made in improving the factors that affect the EQE of LEDs. But what of the other essential element of commercial white LEDs, the phosphor that changes the wavelength of some of the photons emitted from the LED such that the overall emitted light appears white?
Although the YAG-based phosphors used in today’s commercial devices are highly developed, there are some inherent inefficiencies in the Stokes shifting phenomenon that changes the wavelengths of incident photons as they are re-emitted from the phosphor. These inefficiencies trade light energy from the original photons for heat, reducing the contributions to luminosity.
But that is far from the biggest problem facing the LED makers; the major challenge is that most of the photons emitted from the phosphor travel back toward the die rather than outwards from the LED, dramatically reducing the efficiency of the device. Recent studies from research groups at Rensselaer Polytechnic Institute found that about 60 percent of the light is reflected inward from the phosphor layer.8
One proposed solution employs a transparent “monolithic” phosphor that eliminates the photon-scattering particle interfaces that plague conventional ‘powdered’ phosphor. Another technique adds a multi-layer thin film selectively reflecting filter between the LED die and phosphor layer allowing the blue light from the LED through while reflecting yellow inward emissions from the phosphor back out of the package.
Yet another suggestion to reduce photon back scattering is ‘remote’ positioning of the phosphor away from the LED. In conventional white LEDs, the encapsulating epoxy homogeneously incorporates the phosphor. This arrangement restricts the number of photons that can escape from the package because there is a high probability many will be emitted back into the package and absorbed. In the modified device, the phosphor is positioned in a layer at the top of the device and the die is reshaped to extract a significant portion of the back-transferred light. Figure 5 illustrates the concept.9 The inventors claim the modified device’s efficacy is improved by about 50 percent compared with a conventional LED.

Lab today, commercialized tomorrow
The pace of technical development of LEDs is astonishing. Perhaps more than any other technology, developments in the lab are quickly rushed into production as the LED makers try to grab a larger share of the burgeoning market for new forms of mainstream lighting.
Although several of the developments discussed in this article are yet to be incorporated into commercial chips, some, such as multiple quantum wells, shaped dies, and encapsulants that are close to the refractive index of the die are available in the latest generation of off-the-shelf white LEDs.
New devices featuring enhancements in chip architecture and phosphor are just around the corner. Cree, for example has just announced a 170 lm/W prototype LED ‘light bulb’ based on its silicon carbide technology. For now, the company’s top-of-the-range commercial product is its 124-lm/W XLamp XP-G2.
For its part, earlier this year, OSRAM released its latest generation of OSLON SSL which the company claims offer an efficacy increase of 25 percent compared with the previous version. The devices can produce up to 111 lm/W (Figure 6).

If the current rate of progress from these firms and other leading LEDs makers is maintained, the theoretical maximum efficacy of 250 lm/W for a white LED will be within reach before the decade is out.
References:
- “Energy Efficiency of White LEDs,” U.S. Department of Energy, June 2009.
- “Prospects for LED lighting,” Siddha Pimputkar, James S. Speck, Steven P. DenBaars and Shuji Nakamura, Nature Photonics, volume 3, April 2009.
- “Maximum Efficiency of White Light,” Tom Murphy, July 31, 2011.
- “High-quality non-polar/semi-polar semiconductor element on an unevenly patterned substrate and a production method therefor,” U.S. patent application number 20120153257, June 2012.
- “Extracting more light from LEDs,” Rensselaer Polytechnic Institute, Lighting Research Center.
- “Innovative advances in LED technology,” F.K. Yam, Z. Hassan, School of Physics, Universiti Sains Malaysia, November 2004.
- “GaN Light-Emitting Triodes for High-Efficiency Hole Injection,” Jong Kyu Kim et al, Journal of The Electrochemical Society, June 2006.
- “Extracting phosphor-scattered photons to improve white LED efficiency,” Narendran, N., Y. Gu, J.P. Freyssinier-Nova, and Y. Zhu. 2005. phys. stat. sol. (a) 202 (6): R60-R62.
- “Improved performance white LED,” Narendran, N, Fifth International Conference on Solid State Lighting, Proceedings of SPIE 5941, 2005.
Disclaimer: The opinions, beliefs, and viewpoints expressed by the various authors and/or forum participants on this website do not necessarily reflect the opinions, beliefs, and viewpoints of DigiKey or official policies of DigiKey.




