Use Modular Multi-Output AC/DC Supplies for Flexibility and Configurability
Contributed By DigiKey's North American Editors
2021-04-14
System designers and integrators rely upon well-designed, line-operated AC/DC power supplies to provide the necessary voltage rails for applications, and to do so with accuracy, stability, and fast transient response, among other performance factors. Many systems require that the AC/DC supply simultaneously provide several independent output voltages (rails). These supplies must also meet multiple regulatory standards covering electromagnetic interference (EMI), radio frequency interference (RFI), efficiency, and basic user safety. For designers of medical applications, there are also additional standards regarding allowed leakage current and multiple means of patient protection (MOPP).
To meet the needs of these applications, multi-output supplies are available offering a range of preset output voltages and currents. However, having these preset, multi-output AC/DC supplies can complicate the bill of materials (BOM) and inventory management as needs often change. They also limit flexibility if different multi-output supplies are needed for different products, especially for low-volume, specialized end products. A better alternative for designers in many instances is to use a modular AC/DC approach.
This article will look at the features and advantages of this approach for medical, industrial, and test applications, especially where unique or custom arrangements are needed. It will then introduce high-performance AC/DC modular supplies from MEAN WELL Enterprises Co., Ltd. and show how they’re used.
Supply configurations for multi-output requirements
It’s normal for a system to require multiple DC rails for internal use, as well as for its external load. For example, the processor-centered logic and digital circuitry usually require low, single-digit supply rails, while the load and its driver often demand higher voltages or different current ratings.
In many situations, the specific listing of needed DC output voltages and their maximum current ratings is not fixed and unchanging, for two reasons:
- Some of these rail voltages and currents will need to change when the same basic design is used across different loads, such as a small motor, LED array, or medical-scanning system versus larger versions of the same type.
- Even if the product or product family has fixed DC output requirements, companies often have multiple related products in their portfolio, where each needs a different supply arrangement.
To meet these diverse needs, designers have two options:
- They can use separate multi-output supplies that are procured with the output rail voltages needed for each version of the product. Using such non-configurable supplies adds to inventory management and supply chain issues, and carries associated inefficiencies in forecasting, ordering, stocking, and lead times.
- They can use a mix of single output AC/DC supplies (modules) to meet the needs of each product version. This simplifies the inventory and supply chain issues to some extent, but may also add to design-in and assembly challenges. The reason is that the various supplies may also have varying footprints, volumes, and mounting considerations. The result is that a rearrangement of the complete product assembly may be needed for each unique configuration.
Although this looks like a minor issue “on paper” (Figure 1), the practical effect may be an unwanted “ripple effect” of consequences.
Figure 1: The difference between using a single multi-output supply versus multiple single output supplies looks modest, but the practical implications for the supply chain and production process may be large. (Image source: Bill Schweber)
Medical applications add additional requirements
The better option depends upon the specifics of the situation, as well as the balance between tradeoffs and priorities versus the design objectives. However, there are added constraints for the many medical applications that involve physical contact with a patient and an instrument operating from an AC/DC supply, affecting the choice between the two options cited.
There are regulatory mandates, primarily IEC 60601-1, in addition to the other standards that govern supplies used in broader applications, such as IEC 62368-1 for Information and Computer Technology (including consumer products), which completely replaced existing IEC 60950-1 and IEC 60065 standards in December 2020.
In the selection of the power supply, designers need to consider the design requirements as well as the regulations. For example, there is the issue of leakage current, which is the current that flows through the protective ground conductor to earth. In the absence of a good grounding connection—and the standard assumes that the connection may indeed be missing—it is the current that could flow from any conductive part or the surface of non-conductive parts to ground if a conductive path was available, such as a human body, which constitutes a possible life-threatening hazard.
For medical applications, the allowed maximum leakage current is much less than it is for other general applications. The reason is that this current can cause cardiac arrest if it flows through the body and especially the chest, even at very low levels in the sub-milliamp range. Under “normal” operating circumstances, this current will be zero or nearly so, but the standard presumes a fault may occur and thus induce current flow through the body.
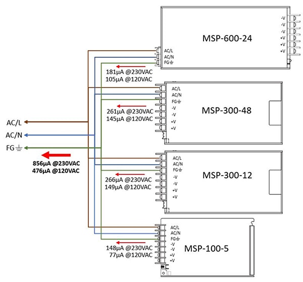
How does this impact the choice between the two ways to answer the need for multiple AC/DC supply rails? Even if the second option seems attractive—and it may be in some cases—it brings a subtle yet important technical consideration due to regulatory mandates. The regulatory standard measures leakage current for the entire end product, not the individual constituent supplies. Therefore, while an individual multi-output supply may have leakage current below the allowed maximum (Figure 2), the sum of the leakage currents of multiple, single-output supplies may exceed that limit, even if each single-output supply is below it (Figure 3).
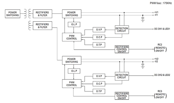
Figure 2: The most common way to provide multiple DC outputs is by using a single multi-output AC/DC supply with preset output voltage values and a specified maximum leakage current. (Image source: MEAN WELL)
Figure 3: An alternative is to provide multiple DC outputs by using a set of individual single output AC/DC supplies, but their leakage currents will add up and may exceed allowable limits. (Image source: MEAN WELL)
Second, there’s a unique requirement in many medical systems for two MOPPs rather than just a single MOPP; this is an extra requirement to provide additional insurance against patient harm if the one MOPP fails. There are also corresponding requirements for means of operator protection (MOOP).
While there are various ways to implement MOPP in the product’s circuit outside of the power subsystem, it is commonly achieved within the power subsystem of the product by using an isolation transformer (transformers that meet medical-specific regulatory standards are considered to be a MOPP). The absence of a ground return from the secondary side of the transformer, along with other mandates, provides one MOPP, while the isolation provided by the primary/secondary is a second MOPP (Figure 4).
Figure 4: The isolated transformer and primary-secondary winding pair provide MOPP in AC-operated supplies. (Image source: MEAN WELL)
There are also standards defining efficiency requirements that add to the challenge. As with leakage current, these standards look at the total system efficiency under defined operating conditions and power levels. Even if individual supplies in a multiple rail system meet the standards, the regulatory approval is based on the efficiency of the aggregate system, not the underlying supplies as assessed individually.
Take the modular approach to power supplies
Thus far, there have been two multi-rail options: one using a single multi-output AC/DC supply with preset, fixed outputs and thus limited flexibility; the second using a set of distinct single output AC/DC supplies, to be mixed as needed.
But there’s another option: MEAN WELL has developed a modular AC/DC architecture that combines the flexibility of output configuration while exceeding all relevant regulatory standards, including medical. The MEAN WELL system consists of a modular chassis with add-in, user-selectable DC output modules (Figure 5).
This chassis is available in two capacities: the NMP650-CEKK-03, a four-channel (slot) convection cooled chassis rated to 650 watts (W), and the NMP1K2, a six-channel, forced air (fan) cooled chassis rated to 1200 W. Both chassis are in a 1U slim mechanical design to fit tight space constraints (1U equals 1.75 inches/44.45 millimeters (mm) rack height).
Figure 5: The MEAN WELL system consists of a modular chassis with four or six channels, plus a family of independent plug-in DC output modules. The NMP1K2 is shown with its cover off (top), and in place (bottom). (Image source: MEAN WELL)
This chassis contains the primary AC line-isolation transformer and front-end power conversion/regulation circuitry (Figure 6). For the NMP1K2, the fan speed is automatically adjusted through its internal temperature detection function to keep the chassis below thermal limits, while minimizing energy use and acoustic noise. The NMP series meets medical safety certification per IEC 60601-1 (Primary-Secondary: 2 × MOPP; Primary-Earth: 1 × MOPP), as well as information technology (IT) industry regulation IEC 62368-1. The series also meets relevant electromagnetic compatibility (EMC) emission and immunity mandates, including those specified by (but not limited to) EN61000.
Figure 6: The NMP chassis provides the requisite AC line transformer and the first stages of power conversion and control circuitry. (Image source: MEAN WELL)
The channels (slots) of either chassis are populated with DC output modules with the desired output ratings, such as the NMS-240-5, a 5 volt (nominal)/36 amp (A) unit (Figure 7 and Figure 8). Other models in the single output family of modules provide 12 volt/20 A, 24 volt/10 A, and 48 volt/5 A outputs.
Figure 7: The NMS-240-5 module for the NMP650 and NMP1K2 chassis delivers 5 volts (nominal) at up to 36 A. (Image source: MEAN WELL)
Figure 8: The 5 volt/36 A NMS-240-5 module slides into a slot in the NMP650 and NMP1K2 chassis. (Image source: MEAN WELL)
For applications requiring dual DC outputs from a single slide-in module, MEAN WELL offers the NMD-240, a 3 to 30 volt/5 A, dual output module (Figure 9).
Figure 9: The NMD-240 is a single slot, dual output module that can deliver up to 30 volts at up to 5 A on both channels. (Image source: MEAN WELL)
Additional features enhance versatility
A power supply’s performance is characterized by its specifications for top priority parameters such as output voltage accuracy, transient and overload response, temperature stability, line regulation, load regulation, and more. However, there are also features that can add to the usefulness of the supply as well as user confidence. For the MEAN WELL NMP650 and NMP1K2 chassis and their plug-in modules, these extra features include:
- Protection: Short circuit, overload, overvoltage, and overtemperature protection is built into all output modules, with the latter indicated by a TTL-level signal output with a maximum sourcing current of 10 milliamperes (mA).
- Auxiliary power output: the NMP650 chassis provides a 5 volt/1.5 A output, while the NMP1K2 provides 5 volt/10 mA, useful for support functions where a full-sized module would be excessive.
- There’s also a feature that addresses an issue related to multi-output supplies. In some situations, users need a single on/off control for the entire chassis and all outputs, but there are also test and even operational situations with a need to control outputs individually, and thus independently turn each output rail on/off. The NMP chassis features a global on/off control, while each DC output module can be individually turned on/off by a remote signal, as well as by a local switch.
- Finally, there’s current and voltage programmability of the modules. Using an external 0 to 1 volt DC signal, the output voltage of each module can be programmed to between 50 to 100% of its nominal value, and its output current programmed from 40 to 100%.
Conclusion
The choice of multi-output AC/DC power supplies involves considerations of performance, functions, features, procurement, and regulatory standards. The MEAN WELL NMP chassis with a choice of plug-in output cards offers designers flexibility in output configuration, along with capabilities that can easily and quickly satisfy diverse end-user requirements.
Disclaimer: The opinions, beliefs, and viewpoints expressed by the various authors and/or forum participants on this website do not necessarily reflect the opinions, beliefs, and viewpoints of DigiKey or official policies of DigiKey.




